Förderjahr 2021 / Projekt Call #16 / ProjektID: 5867 / Projekt: faircommons
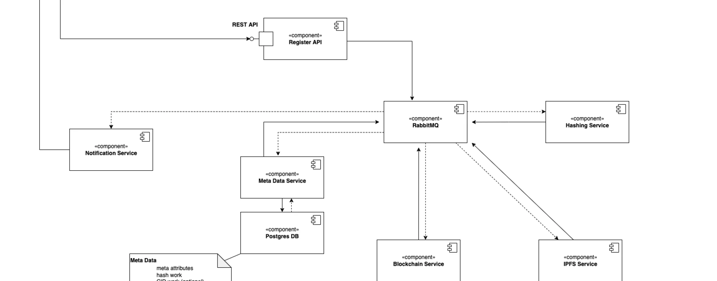
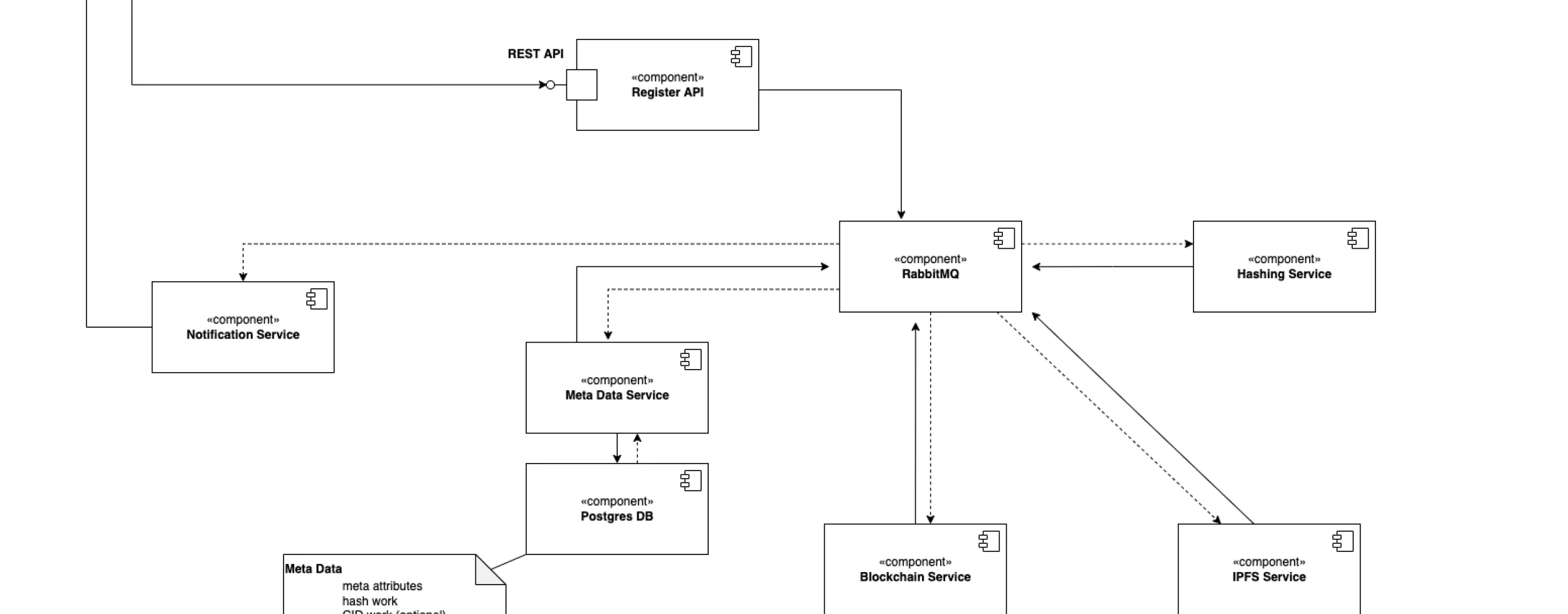
Die folgende Darstellung bildet die vorläufige Architektur des fairregister Services ab.

Über das Frontend kann ein Werk hochgeladen werden. Dieses wird in einem Objektspeicher abgelegt.
Über eine Rest API kommuniziert das Frontend mit dem Backend.
Das Backend umfasst weitere Services. Dazu zählen der Hashing, IPFS, Blockchain und Metadaten Service.
Die Metadaten eines Werkes werden standardmäßig in einer Datenbank gespeichert. Zusätzlich können diese ins IPFS geschrieben werden, um die Rechtssicherheit in Bezug auf den Nachweis der Urheberschaft zu stärken.
Das Werk kann optional ebenfalls im IPFS abgelegt werden, allerdings ist es dadurch öffentlich zugänglich und downloadbar.
Das Werk sowie die Metadaten werden gehasht und können optional in einer Blockchain gesichert werden.
Nach der Registrierung kann der / die Urheber:in das Werk zu einem NFT minten und auf NFT Shops zum Kauf anbieten. Für die Wahl der Blockchain sollen verschiedene, Ethereum, Solana, ..., zur Auswahl stehen.
Neben der Konkretisierung der Service-Architektur, werden auch die Use Cases stetig erweitert und optimiert. So kam beispielsweise der Use Case einer Defensivpublikation hinzu. Eine Defensivpublikation, auch Sperrveröffentlichung genannt, beinhaltet die gezielte Veröffentlichung potenziell patentfähiger Inhalte. Durch die Publikation erlischt die Patentierbarkeit, da die Erfindung bereits bekannt und somit nicht mehr neu ist. Eine Defensivpublikation kann dadurch die dauerhafte freie Nutzung einer Erfindung sichern.
fairregister soll als Service gezielt Anwendungsfälle aufgreifen, welche freie Inhalte schützen und fördern.